鞍山市中盈工業泵制造有限公司
辦公地址:鞍山市鐵東區科技路52號
聯系電話:0412-5236608
0412-5236622
0412-5236633
AH渣漿泵
添加時間:2017-04-27

渣漿泵結構
AH渣漿泵、雜質泵為懸臂、臥式雙殼軸向吸入離心渣漿泵。泵的吐出口位置可根據需要按45℃間隔,旋轉八個不同的角度安裝使用。
渣漿泵材質
AH渣漿泵、雜質泵的泵體具有可更換的耐磨金屬內襯,葉輪、護套、護板等過流部件均采用耐磨金屬。
渣漿泵使用
在小流量低揚程區域內,可以輸送強磨蝕渣漿;在高揚程大流量區域內輸送輕磨蝕渣漿。適用于冶金、礦山、煤炭、電力、建材等工業部門輸送強磨蝕、高濃度渣漿,該類型泵也可以多級串聯使用。渣漿泵密封形式:AH渣漿泵、雜質泵的軸封可采用填料密封、副葉輪密封、填料加副葉輪密封、機械密封等型式。
渣漿泵傳動型式:DC直聯傳動,CR平行皮帶傳動,ZVZ上下皮帶傳動,CV立式皮帶傳動等型式。
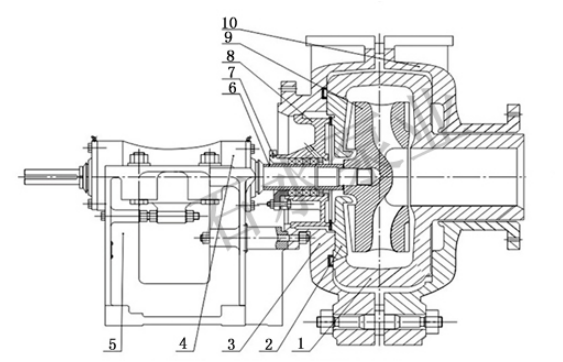
渣漿泵結構:
1、渣漿泵護套 2、渣漿泵后護板 3、渣漿泵泵體
4、軸承組件 5、渣漿泵托架 6、密封組件
7、減壓蓋 8、付葉輪 9、渣漿泵葉輪
10、泵蓋
渣漿泵性能參數表
|
型號
|
配帶功率 |
清水性能 |
|
||||
|
流量Q |
揚程H |
轉速 |
****效率 |
汽蝕余量 |
重量 |
||
|
1.5/1B-AH |
2.2-15 |
3.6-20 |
5-68 |
1200-3800 |
40 |
2-4 |
91 |
|
2/1.5B-AH |
2.2-15 |
7-48 |
7-62 |
1200-3200 |
45 |
3.5-8 |
118 |
|
3/2C-AH |
4-30 |
21-86 |
12-65 |
1300-2700 |
55 |
4-6 |
191 |
|
4/3C-AH |
5.5-30 |
50-150 |
9-45 |
1000-2000 |
71 |
4-6 |
263 |
|
4/3D-AH |
7.5-60 |
68-160 |
10-52 |
1000-2200 |
71 |
4-6 |
363 |
|
6/4D-AH |
15-60 |
72-360 |
12-56 |
800-1550 |
65 |
5-8 |
626 |
|
6/4E-AH |
22-120 |
93-385 |
12-63 |
800-1600 |
65 |
5-8 |
728 |
|
8/6E-AH |
18.5-120 |
360-820 |
10-61 |
500-1100 |
72 |
2-9 |
1473 |
|
8/6R-AH |
110-300 |
360-820 |
10-61 |
500-1140 |
72 |
2-9 |
1836 |
|
10/8ST-AH |
45-560 |
630-1300 |
11-60 |
400-850 |
71 |
4-10 |
3750 |
|
12/10ST-AH |
55-560 |
800-1900 |
7-58 |
350-730 |
82 |
6 |
4318 |
|
14/12ST-AH |
75-560 |
1200-2600 |
13-60 |
300-600 |
77 |
3-10 |
4609 |
|
16/14TU-AH |
160-1200 |
1368-3000 |
11-60 |
250-550 |
79 |
4-10 |
10000 |
下一條: PW臥式污水處理泵